
从事SEO优化工作也有五六年之久,接触过大大小小的站很有很多,也有不少的案例,有过b2c 化妆品商城优化经验,OTA在线旅游度假平台、也有传统装修行业优化经验,在这几年工作当中多少累积了一些经验,希望在这里整理并分享给大家,在此引用“OTA在线旅游度假平台” 作为分享案例,理由总结以下几点
1、之前做过的一些案例基本找不到或者已没有当时的效果
2、目前所以公司由于战略调整,把全部重心全部转移移动互联网,由微信,APP完全取代PC端,运营半年PC放弃了,我想把这份成果保存下来。
言归正传,接手这个平台正是4月中旬,起初的这个平台,所有的搜索引擎优化大忌基本都出现了,最突出的几个问题:
1、网站页面数量小,只有首页几个产品及一个列表页(城市列表),其它城市列表页及公寓详情页使用ajax技术调用,导致(城市列表)及其公寓详情页无法被搜索引擎抓取。
2、调用列表页网站标题布局不规范,全部统一使用了首页标题
3、两个域名之间没有做301,带www与不带www 也没有做301
4、网站没有后台,无法对网站SEO信息进行编辑
5、URL网址规范等问题一并存在

说实在当时面对这样一个网站真心感觉倍感压力, 用户体验没有,搜索引擎体验更没有。
但就是因为这些问题的存在,解决它并且提升网站自然流量,才能体现SEO存在的价值。
通过这几年经验总结搜索引擎优化最重要的一定是两点:
前期的详情执行计划 心态就是坚持和耐心
当然如果是传统企业 执行计划 就变得不那么重要了,所以用了大致一周左右时间整理了一份网站优化计划。
一份完成的优化方案至应该包含以下几个要点:
网站定位: 竞争对手分析 网站分析评估:包括网站存在的问题及威胁 最后是网站执行方案:包括明确的负责人、完成时间节点和ROI
1、网站分析及竞争对手分析

2、网站优化方案


两次开会讨论基本已确认该方案、接下工作工作才是重中之中,明确的各项各阶段负责人、完成时间节点:

但由于种种原因项目方案至今为止只执行了三之一(技术全力开发APP,所以把这些项目搁置)在这里强调一下已完成项目、因为等会在后面会讲到
1、搜索列表页(城市)URL地址规范完成(但没有按需求完成)
2、标题布局按照统计格式布局完成
3、网站首页底部信息规范增加了:友情链接板块,热门酒店公寓推荐,热门短租公寓推荐 信息版块
4、完成301重定向
5、死链接处理
6、公寓图片 全部添加alt 标签(直接匹配公寓名称)
7、无效导出链接添加 nofollow标签
8、更新sitemap.xml内容(替换所有.cn 的链接)
没有完成项目:
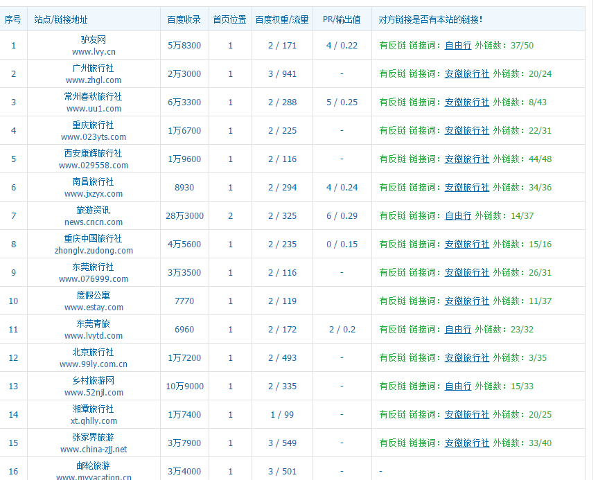
如下图:

1、公寓详情URL规范
2、行政区,地标(景点)及商圈URL命名规范
3、统一使用SEO定义的URL(每一页面都有两条不同URL地址)
4、首选域设置,去掉 index.shtml
5、公寓列表页底部版面规范:增加以下版块

6、做好站内面包屑导航优化
7、404页面返回状态码调整为:404
8、制作聚合页

9、完成网站后台(SEO)编辑需求 (见网站后台修改需求)附件
最重要站内结构部份没有执行话说好像跟经验分享一点都不相关是吧!不急!虽然站内优化部份没有完成,但工作还是得继续,所以SEO其它阶段目标还是得执行.

每一阶段目标需要规划好自已的优化指标我给自已定的第一阶段目标有重要的两个指标:引流:根据在线旅游用户获取产品信息渠道制作制定以下推广渠道

优化指标:

制作好目标后接着还是执行,根据网站关键词排名优化重要性做了以下执行顺序
首页标题优化
二、首页内链优化(其它列表页及详情页没办法执行,这就是为什么我刚才要把没有完成项目罗列出来)
三、友情链接交换
四、外链接(这里就不进行分享)
首页标题优化
经过前面的网站定位分析基本基本可以敲定首页的几个核心关键词:
1、度假公寓(指数:181)
2、度假公寓预订
3、酒店式公寓(指数:1218)
4、短租酒店式公寓(指数:101)
5、短租公寓(指数:2316)
6、公寓短租(指数:704)
7、酒店公寓(指数:469)
8、公寓式酒店(指数:394)
从关键词指数(PS:分析关键词竞争大小不能只看指数)来讲整体竞争不是很大,有一定难度且周其会较长,所以计划还是从竞争小的关键词开始优化,通过竞争较小的词排名带动其它关键词排名,那选择关键词就成为最关键的因素,首先要考虑首要推广关键词优化难度及百度分词原理(能够通过百度分词匹配所要推广的关键词)所以 以下几个词就自然成为首选了,
1、度假公寓预订
2、短租酒店式公寓(指数:101)
3、短租公寓(指数:2316)
所以我把TDK做了下列布局:
标题:一呆网-度假公寓预订、短租酒店式公寓、短租公寓
关键词:度假公寓,度假公寓预订,酒店式公寓,短租酒店式公寓,公寓短租,一呆网
下面来解析一下这个标题为什么要这么布局:
1、一呆网做为品牌词 不用多说
2、度假公寓预订:可以通过分词=度假公寓 及 预订


3、短租酒店式公寓=可以通过分词 酒店式公寓,短租酒店式公寓,短租酒店,短租公寓

4、短租公寓=可以通过分词公寓短租,短租公寓


事实证明
1、越靠前关键词排名越好且越稳定
2、完全匹配的关键词比不完全匹配的关键词越好且越稳定
二、首页内链优化

首页内链优化能做也非常小,只能从底部信息规范着手,增加以下规范信息:
1、增加热门酒店公寓
2、热门短租公寓
3、友情链接
解析一下底部热门推荐:
增加热门推荐作为以下几点考虑
适当增加首页关键词密度 增加内链布局提升页面收录
增加热门推荐几点注意事项:
热门酒店 热门公寓 推荐的URL不要相同 热门推荐适当根据百度风向标进行推荐
三、友情链接
关于友情链接的重要性我想大家都知道,但有些细节还是需要跟大家分享一下
友情链接关键词如何分布 友情链接的相关性 互换友情链接的质量
友情链接关键词如何分布,我根据关键词竞争大小作如下分布:

友情链接的相关性

互换友情链接的质量

总结一下:
搜索引擎优化重要的还是:
1、关键词部署内链策略,需要做好关键词分析及利用好百度分词
2、内链接优化
3、友情链接
4、用户体验,用户体验本觉得应该是最重要的东西,但这个网站除了产品在整个ota行业有自已优势外,不管是从搜索引擎体验还是用户体验都不是最好
未经裕腾智工作室授权许可任何人不得复制、转载、或以其他任何方式使用裕腾智工作室的内容。
裕腾智工作室保留追责权利
文章出处:裕腾智工作室 http://www.ying88.net/seoyouhua/48.html
本文为友站网专栏文章,文中所述为作者独立观点,不代表友站网立场。
本文章地址http://www.vzeo.com/news/seo/8001262.html 由 友站网 编辑整理,转载请注明出处

